数据指标播报的方式,支持以文本方式推送关键的指标数据信息,帮助用户快速获得核心数据。本文为您详细介绍指标播报功能的使用。
功能概述
为了定期在企业办公软件或邮箱中直接获得关键指标数据,可以选择数据订阅推送看板和看板链接,但在数据消息过多,业务难以快速获得核心数据的情况下,可以使用数据指标播报的方式,以文本方式推送关键数据信息。

- 指标播报的对象为已保存图表内的指标,可配置播报句式和需要的指标字段
- 支持飞书和邮件播报
- 通过飞书播报,系统管理员需要确认 飞书联动集成基础配置的「基础权限」和「飞书消息发送相关权限」是否配置完全,飞书联动集成基础步骤是否完成;
- 通过邮件播报系统管理员需要先完成邮箱服务配置,并且在系统管理页面进行用户管理新增用户时需要添加邮箱信息,否则该渠道会置灰。
快速入门
接下来将快速介绍如何创建一个定时发送的指标播报。
- 创建图表并保存。如已有图表,可省略这一步。

- 在「项目中心」-「指标播报」(定时任务一栏)中,点击「新建播报」。

- 配置播报基本信息(名称、说明)和播报内容(标题、图表、明细数据)。

- 播报名称即推送的名称(飞书卡片标题/邮件标题);
- 播报内容即内容标题和具体播报信息,可以配置多条播报内容,多条播报内容将在一条播报消息中展示。
- 配置播报样式(选择是否在多条播报内容中增加分割线)和播报通知(订阅时间、推送方式和异常处理)。

- 配置完成后,可以点击发送测试消息,查看效果并调整。达到预期效果后,点击保存即可。

- 在播报列表页,可以查看相关信息,并进行手动编辑、立即推送、复制、转移所有者、删除操作。

查看播报
支持用户筛选订阅记录,查看订阅详情,包括编号、播报名称、图表名称、推送方式、创建者、接收人、最近推送时间、推送状态等信息。

筛选条件说明如下:
筛选条件 | 说明 |
|---|
播报名称 | 支持用户输入播报名称检索相关播报。 |
图表名称 | 支持用户根据图表名称检索相关播报。 |
接收人 | 支持用户输入接收人名称检索相关播报。 |
推送状态 | 支持用户根据推送状态检索相关订阅。 - 进行中:推送任务已触发,正在向目标渠道推送数据,尚未完成全部流程。
- 成功:推送任务已按设定规则完成推送,数据完整且成功送达所有目标渠道 / 接收对象。
- 部分成功:推送任务涉及多个推送目标,其中部分目标推送成功,部分目标推送失败(如个别群聊权限不足、邮箱地址无效)。
- 失败:推送任务未完成推送,所有目标渠道 / 接收对象均未收到数据。
- 等待重试:推送任务首次执行失败,但系统已触发自动重试机制,当前处于等待下一次重试的状态。
|
立即推送
对最近推送状态为失败/部分成功的订阅,可以尝试「立即推送」。
- 用户可以点击单个播报后的「立即推送」,也可选择多个订阅并点击订阅管理界面下方的批量「立即推送」。
- 点击「部分成功」可以看到影响的接收人,立即推送只会对本次推送结果失败的接收人再次发送。

编辑订阅
基本信息
功能名称 | 功能作用 | 功能说明 |
|---|
播报名称 | 推送的名称(飞书卡片标题/邮件标题) | 按照自定义规则直接写名称
 |
播报说明 | 推送信息中的一些自定义文字或说明 | - 文本内容书写可以设置前一步或后一步
- 文本可以加粗、化线、斜体
- 可以增加链接,比如直接将播报内容有关的仪表盘故事直接放在链接中,用户可以选择只查看关键指标数据,也可以点击链接查看详细数据报表

|
播报内容
播报内容即内容标题和具体播报信息。
功能名称 | 功能作用 | 功能说明 |
|---|
标题 | 内容标题。 | 如下图所示 |
选择图表(表格) | 选择该项目下有数据集查看、编辑、管理权限的已经保存的图表。 | 支持自定义推送格式或表格推送:
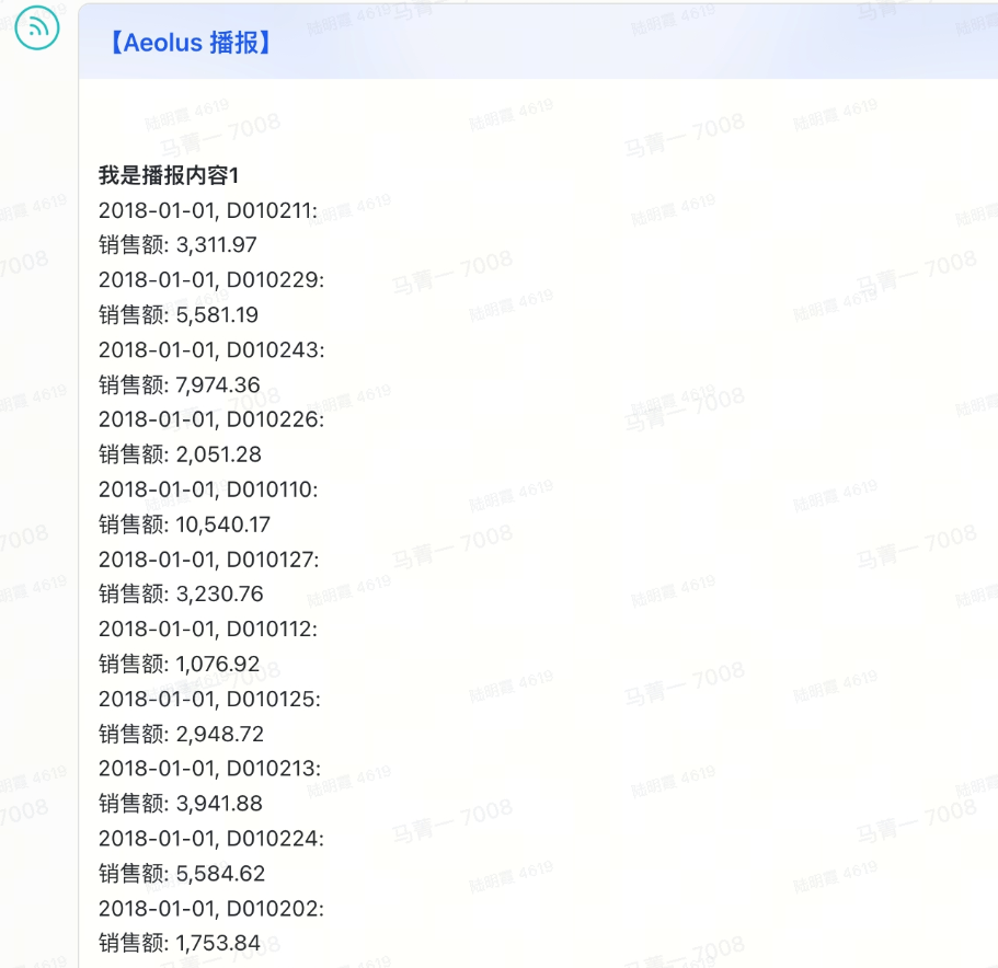
 - 自定义推送格式:用户可在明细数据模版中设置播报内容推送格式。自定义推送格式推送结果如下图所示,图表数据内容会以类似表格形式呈现。
 - 表格推送(仅支持邮件):完成邮箱服务配置,并且在系统管理页面进行用户管理新增用户时添加邮箱信息后,即可看到此选项。当选择邮件播报时,支持选择表格推送,以表格形式推送图表内容。

|
明细数据模板 | 配置推送消息的数据格式,支持手动输入文字和插入图表中已有字段。 - 插入字段为插入图表中的维度/指标字段;在模板中,是灰色底带<>的样式,其余为文字。
- 序号为每一行数据自动生成一个序号,如右图所示。
- 模板即为每一条指标值的发送句式,支持换行,也可以自定义文字、emoji图等。
| 

|
数据条件格式 | 在图表中对数据的条件格式中设置单色-单元格(红色/绿色)条件格式,配置指标播报后,消息推送中的数据将跟随条件格式展示相同红绿色文字。 | 
|
添加内容 | 一条播报中,可以添加多条播报内容。点击添加内容,并进行图表选择和标题、模板配置。 | 

|
播报样式
功能名称 | 功能作用 | 功能说明 |
|---|
播报样式 | 在多个播报内容之间插入分割线 | - 未设置分割线
 - 设置了分割线

|
播报通知
订阅时间
定时推送
设置定时推送时,系统将在指定时间进行图表查询,对查询结果播报。支持天级、分钟级、小时级、周级播报。同时支持设置是否限制在工作日或交易日进行推送。

数据完成同步时推送
也可设置数据完成同步时触发推送。这样,系统就不会播报未更新的指标。当数据完成同步刷新时间晚于播报设定时间时,系统将等待数据同步完成后再进行播报。同样支持设置是否限制在工作日或交易日进行推送。
如图所示:如果当日数据9点完成同步,指标将在10:30进行推送;如果当日数据12点完成同步,指标将在12点进行推送。

推送方式
支持飞书、飞书群、邮件、邮件组、通用 IM 推送,仅支持发送给组织内部用户。
- 通过飞书播报,系统管理员需要确认 飞书联动集成基础配置的「基础权限」和「飞书消息发送相关权限」是否配置完全,飞书联动集成基础步骤是否完成。
- 通过邮件播报系统管理员需要先完成邮箱服务配置,并且在系统管理页面进行用户管理新增用户时需要添加邮箱信息,否则该渠道会置灰。
- 通过通用 IM 推送,系统管理员需要确认办公平台集成中的相关配置工作是否已完成。
权限说明:所有推送方式均会按照创建者(即在配置这个指标播报的人员)在平台的数据权限来校验,即接收到的数据根据创建者的数据权限推送,推送至群组的数据结果是一致的。
注意
- 敏感数据使用该功能时候请注意,推送到的用户是否拥有查看该数据的权限。
- 若推送到飞书/飞书群,当监控消息过长时,由于飞书消息大小限制 30k,可能出现消息截断不完整的情况。
异常处理

- 若存在图表异常,则不推送:推送内容中选择的图表存在查询失败、查询超时或加载中则不发送指标播报消息给接收人。
- 失败自动重新推送一次:推送失败后 1 小时系统自动尝试再次发送。
转移所有者
支持用户单独转移指标播报所有者,转移后,创建者会变为转移到的用户。

删除播报
支持用户单独或批量删除播报。
