You need to enable JavaScript to run this app.
文档中心
数据智能体 DataAgent(私有化)

数据智能体 DataAgent(私有化)

复制全文
下载 pdf
知识建模
主体建模
复制全文
下载 pdf
主体建模

主体建模通过知识库与知识图谱的结合,从原始文档中自动抽取主体(如人、车、店等)及其相关实体属性(如身份证ID、地理位置等),并构建主体库。适用于同一文档多场景知识分类、多文档同类知识归集、企业多主体库构建等场景,能够显著提升数据管理效率,增强上层应用(如AI问答、营销推送)的数据支持能力,并满足各类复杂业务需求。本文为您介绍如何构建主体库。

应用场景
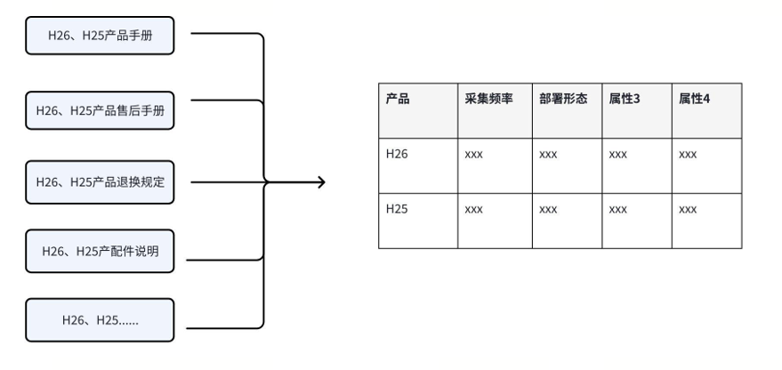
  • 通常企业中会存在产品手册分散、表述不统一,难以检索与比对的情况,此时可以通过主体建模功能对同个产品(实体)进行识别与属性抽取,沉淀到标准字段。
    例如:H26产品手册较多,主体建模可以自动抽取关键属性生成H26的产品属性表,关键属性例如采集频率、支持平台、部署形态等。抽取后的内容可用于一键检索、产品横向对比、FAQ问答等。
    Image
  • 不同的文档中存在信息重复或冲突的场景,可以通过主体建模将同义称谓归并为同一“对象实例”,合并属性并保留来源,支持审核。提升准确性、降低维护成本,支撑搜索、问答与数据分析闭环。
    例如同一产品在不同文档存在多个称谓,如H26、H-26、H26硬件版,或者是同一产品的同一种信息在不同文档中存在偏差,如H26产品尺寸在A文档中高15CM,在B文档中高13CM。通过主体建模统一语义,参考其他文档和实体,构建主体库提炼标准信息,主体库产品名称为H26,产品尺寸统一为15CM。
    Image

操作步骤
  1. 登录企业知识引擎控制台,在顶部导航栏选择主体建模

  2. 点击新增主体库,填写主体库名称描述,​然后点击保存

  3. 点击创建好的主体库,进入主体库详情页,点击新增主体或**+主体**。
    Image

  4. 填写主体的具体参数,配置主体库构建策略和更新方式,然后点击保存
    在主体详情页的左侧,系统已为您预置了新建主体需求指令的模板,帮助您理解参数的用途。您可以在右侧填写具体参数,系统会自动生成对应的需求指令输入到大模型中。
    Image

    参数

    参数说明

    示例

    主体名称

    填写需要从知识库文档中构建的主体,例如商品、汽车、用户、门店等

    商品

    主体描述

    主体的备注信息

    本公司旗下所有商品主体的相关知识

    知识库/知识图谱

    选择与该主体相关的知识库或知识图谱,支持多选。

    test_1

    主键属性

    主体知识的第一个属性字段,大模型将根据定义的属性字段进行知识建模。

    商品主要的属性,比如商品ID

    一般属性

    主体知识的属性字段,一般属性排在主键属性后面。大模型将根据定义的属性字段进行知识建模。点击+一般属性,可根据您的需求,添加多个一般属性(暂无限制)。

    商品名称、大类、中类

    描述

    关于属性的含义和注意要求,有助于提高大模型识别的准确度

    /

    高级设置

    点击属性后面的高级设置,可以设置该属性的具体知识来源的知识库/知识图谱、指定的文件、字段类型。
    主键属性目前只支持字符型的字段类型,其他属性还可支持整型和日期。
    Image

    /

    模型

    支持Doubao、Deepseek等多种模型

    Doubao-1.5-pro-32k

    更新方式

    • 无需更新:该主体新建后无需更新。
    • 定时更新:按时更新该主体。支持按照天/周/月粒度设置更新频率,并指定具体更新时分。若当月没有31日,则跳过该日期。定时更新的任务执行情况,您可以通过主体库中详情页面的更新时间,查看主体更新的情况。

    无需更新

    更新策略

    • 全量更新:当知识库/知识图谱中的知识有更新时,该主体会全面更新覆盖老的主体。
    • 增量更新:当知识库/知识图谱中的知识有更新时,该主体会基于原有主体信息,检测变化,更新新增、编辑、删除的知识。

    全量更新

  5. 点击重新运行,该主体开始构建。
    系统通过大模型构建主体属性,并展示实体关系。
    Image

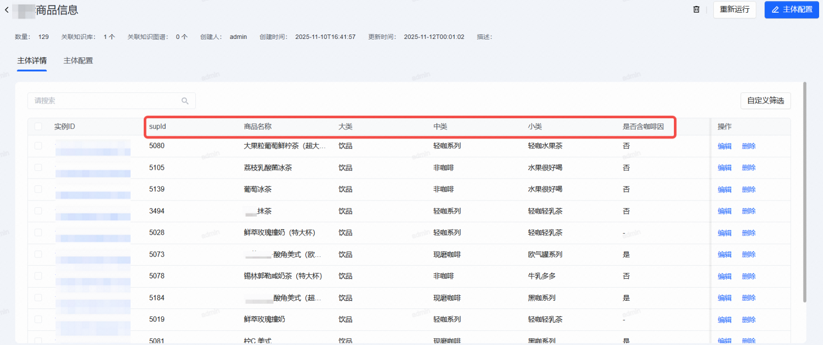
  6. 构建完成后,点击具体的主体名称,查看到抽取好的主体详情,按照设置好的主体属性展示。
    Image

  7. 可点击编辑或实例ID,查看该实例的各个属性详情,点击属性的查看,可以查看到该属性的溯源信息。
    Image

后续步骤

创建好的主体库可应用于以下应用:

最近更新时间:2026.03.25 17:48:47
这个页面对您有帮助吗?
有用
有用
无用
无用