开通和使用慢直播服务的主要步骤如下图所示:

首先您需要 注册火山引擎账号。
部分硬件厂家的GB28181协议实现不规范导致设备故障频繁,影响接入体验和效果,为避免给客户带来不好的体验,火山引擎慢直播服务仅对特定企业用户加白开放,使用服务前需要了解具体的业务场景协商开通。
申请开通慢直播服务的主要步骤如下图所示:

完成火山引擎账号的企业实名认证。具体步骤,参考 企业实名认证。
认证成功后,打开慢直播产品的 官网页面,点击 申请开通。
填写公司名称、联系人、联系方式等信息,点击 提交开通,进入审批流程。
火山引擎将通过电话联系您确认申请信息,请注意接听。可点击火山引擎控制台页面右上角的 消息 图标,打开站内信,查看申请进度。如申请信息审核无误,慢直播服务申请将在12小时内审核完成。
慢直播服务开通成功后,点击火山引擎官网页面右上角的 控制台,然后选择「慢直播」,即可打开慢直播服务的管理控制台,开始使用慢直播服务。
空间是用户在慢直播控制台内配置视频接入、分发、存储和分析任务的工程项目。进入慢直播控制台后,在「空间管理」页面中点击 「创建空间」,并提供空间的配置信息。
慢直播控制台支持创建视频截图和录制模板。进入慢直播控制台后,在「模板管理」页面中点击 「创建截图模板」或 「创建录制模板」,并提交模板的配置信息。
在空间和模板创建完成后,点击空间名称打开「空间配置」页面,在 「模板配置」标签页下,选择需要使用的模板,用于该空间内的视频截图或录制。
慢直播产品支持通过 GB28181 和 RTMP 协议接入设备和视频流。
可通过以下步骤,快速完成设备接入:
可通过以下步骤,快速完成视频流接入:
完成设备或视频流接入后,可打开「视频流详情」页面:
完成以上操作后,您的业务即可正常开展。
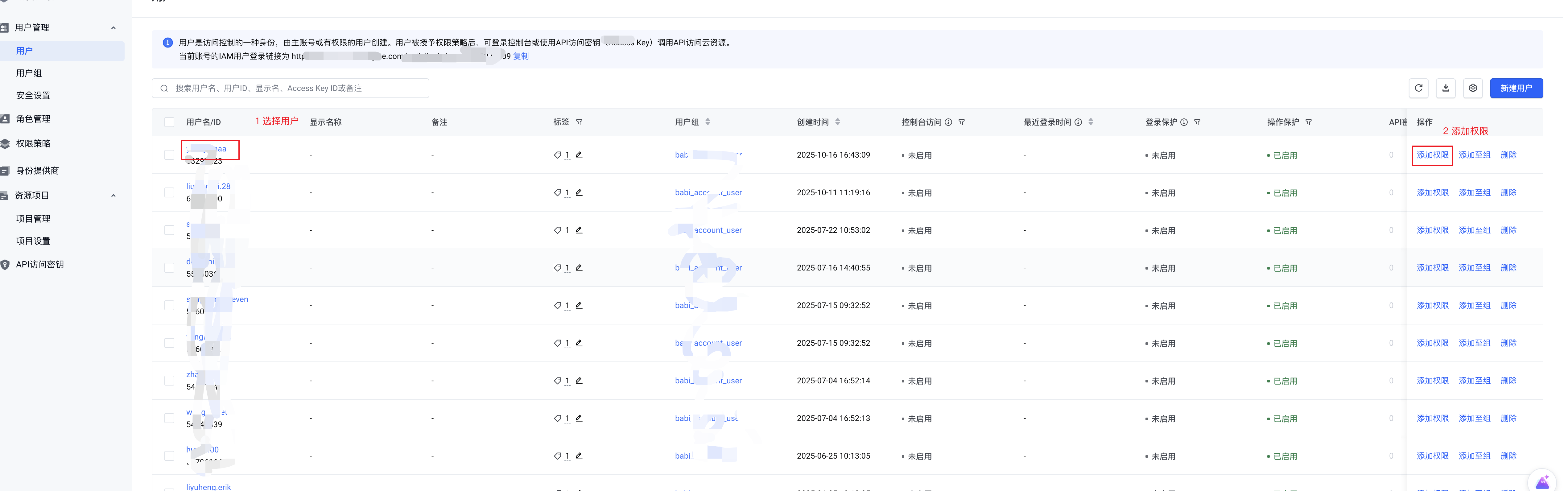
在需要子账号登陆的情况下,可以通过如下的步骤对子账号的权限进行配置。
1.在火山控制台右上角点击头像,找到“访问控制”并打开页面。
2.在“访问控制页面,点击用户,选择需要配置的子账号用户,点击”添加权限“
3.在“添加权限”页面,在“所有服务”下拉框后搜索“aiot”,列表会展示AIoTFullAccess和AIoTReadOnlyAccess,两个都选择上,并提交即可。