CDP支持通过任务视角,查看、管理目前标签的运行任务,并可以通过视图配置,聚焦角色重点需要关注的内容,提升对标签的管理效率。
需项目管理员在 项目中心-权限-模块 中,给对应用户开启 查看标签任务 的权限,开启后,用户即可使用该功能。
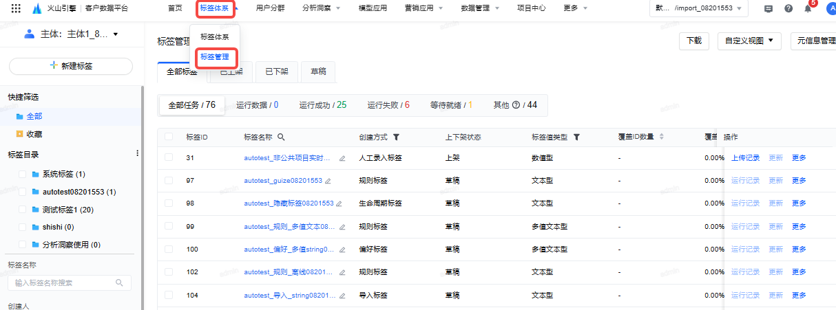
在导航栏点击 标签体系 > 标签管理 进入该功能。在该页面,您可以筛选、搜索、管理可以查看具体标签的运行任务。同时支持下载完整内容,标签管理团队可以通过文件进行分析、汇总、检查。
在标签管理页面的左侧,标签管理列表选支持多选,可以通过以下方法对标签进行筛选,以查看对应的标签任务:
在页面右侧可以查看标签的任务概览,包括标签名称、ID、创建方式、标签值类型、上下架状态等。
说明
运行成功、运行失败、等待就绪这三个状态不参与人工标签、实时标签统计,人工标签、实时标签自动归类到「其他」状态中。
标签管理中支持以下操作:
操作说明 | |
|---|---|
标签名称修改 | 点击标签名称旁的 编辑 按钮,可以对标签名称进行修改 |
查看运行记录 | 点击 运行记录 按钮,可以跳转至标签对应的运行记录页面,查看运行任务的明细信息 |
手动更新任务 | 点击 更新 按钮,在弹出框中选择需要运行的日期范围,点击确定触发任务更新 |
复制标签 | 对于支持复制的标签类型,可以点击 复制 按钮,复制一个相同的标签 |
标签授权 | 对于有管理权限的标签,点击 授权给 按钮可以授权给其他对象 |
查看资源管理员 | 点击 查看资源管理员 按钮,可查看该标签的当前资源管理员 |
上架标签 | 对于 已下架/草稿 状态的标签,点击 上架标签 按钮,标签将开始执行更新任务 |
下架标签 | 对于 已上架 状态的标签,点击 下架标签 按钮,标签将不再执行任务 |
服务配置 | 对于需要进行在线调用的标签,可以打开服务配置开关 |
删除标签 | 对于有管理权限的标签,点击「删除」按钮可以对标签进行删除 |
设置保留版本数 | 设置标签的计算结果存储保留策略,支持与系统一致或者指定时长 |
标签管理中还支持以下批量操作:
操作说明 | 示意图 | |
|---|---|---|
批量上下架 |
|
|
移动分组 |
|
|
重命名 |
|
|
批量授权 |
|
|
修改元信息 |
| |
批量展示/隐藏 |
| |
翻页器放大 | 默认20条/页,支持放大到100条/页 |
|
在标签管理页面,支持将标签批量同步至其它项目,同步后,目标项目可在用户分群模块中直接使用这些标签,助力跨项目的数据共享与协作。
说明
实时标签、未上架/已同步/草稿态等特殊标签暂不支持同步
创建标签同步:标签管理列表页,勾选需要同步到其他项目的标签后,点击 同步至其他项目 按钮,选择需要同步到的项目。
同步后的生效场景:在目标项目-用户分群-创建分群页面中,选择标签数据,即可看到被同步过来的标签。
标签管理页的内容支持下载进行查看,点击右上角的 下载 按钮,将会开始下载一份csv文件,文件中包含了当前筛选项目中的标签任务详情,可以通过文件在本地进行分析处理。
任务概览中的展示内容(列)可以通过不同视图进行切换,默认配置了两种视图:
同时,视图支持自定义内容,可以在项目中选择需要内容保存为自定义视图,支持通过拖拽调整列的顺序,点击重置可以恢复默认配置。
元信息是指描述其他数据的数据,通常用于提供有关数据的信息,例如数据的格式、结构、内容和来源等。元信息可以帮助人们更好地理解数据,并在处理和分析数据时提供支持。CDP的标签体系支持设置并应用标签元信息。
1)创建标签元信息(管理员)


2)标签元信息生效场景
场景 | 示意图 |
|---|---|
标签创建/编辑 |
|
标签管理列表 | 前提条件:需要在运维视图处选择自定义视图,并勾选该元信息字段 |
在标签元信息管理页面,可配置值枚举植的元信息字段作为下游圈选场景中使用标签时,在当前「按标签目录」「我常用的」「我收藏的」基础上,可扩充快捷筛选的方式,助力用户快速定位目标标签。
*注意:最多支持配置3个快捷条件
示例说明:以配置「数据采集方式」为快捷筛选条件为例,配置方式如下图所示
配置后的生效场景:在用户分群-创建规则分群页面中,选择标签数据源时,即可查看到刚才配置的标签元信息,如下图所示