说明
将未加密的【容器镜像】上传并发布到AICC机密容器后,完成服务部署并提供密文接口供端云互信服务联调测试。
**!!!**建议poc阶段可以使用非加密的容器镜像进行联调,跑通流程;
整体流程说明

准备工作
说明
选择以下两种方式中的一种准备容器镜像地址,供后续JeddakAICC拉取使用。
- 方式1:互联网可访问的镜像地址,例如,使用官方容器镜像:quay.io/skopeo/stable:latest;
- 方式2:将容器镜像上传至火山镜像仓库,提供火山引擎镜像仓库的容器地址;
步骤1:获取火山镜像仓库信息
- 获取火山镜像仓库<仓库用户名>和<临时密钥>,如下图
步骤2:构建上传脚本
- 在本地linux系统(需要安装docker)下执行以下脚本:
cat << EOF > skopeo.sh
#!/bin/bash
docker run --rm -it --net=host \\
-v `pwd`:/workspace/`pwd` \\
-w /workspace/`pwd` \\
quay.io/skopeo/stable \\
"\$@"
EOF
chmod +x skopeo.sh
步骤3:上传镜像至火山镜像仓库
./skopeo.sh copy \
docker://<镜像地址> \
docker://<火山镜像仓库>:<镜像版本> \
--dest-username=<仓库用户名> \
--dest-password=<临时密钥>
# 参考示例
# ./skopeo.sh copy \
# docker://quay.io/skopeo/stable:latest \
# docker://test-repo-cn-beijing.cr.volces.com/test-namespace/test-oci/dmeo:v1 \
# --dest-username=test-account \
# --dest-password=eyJ0eXAiOiJKV1QiLCJhbGciOiJSUzI1NiIsImtpZCI6Ik5IRjc6NktBSzpDV...
镜像发布与部署
步骤1:注册镜像基线
- 访问【基线管理服务】,在"我的基线"标签下,点击【注册基线】按钮。
- 输入如下字段:
- 镜像名称,必填项,自定义;
- 镜像版本,必填项,自定义;
- 镜像地址,必填项,填写【准备工作】中输入出的**<镜像地址>**;
步骤2:镜像发布
- 选择已注册完成镜像基线,点击操作列对应的「镜像发布」按钮,进行镜像容器发布部署,

- 填写参数说明如下:
- 基本信息
- 镜像,必填项,默认已补填注册镜像基线的镜像
- 容器名称,必填项,可自定义;
- 容器描述,选填项,可自定义;
- 资源信息
- AICC规格,必选项,根据已购买的规格进行选择;
- 实例数量,必填项,根据业务需要和购买资源情况填写;
- 其他信息,非必填项,可按照实际情况填写;
- 服务配置
- 端口,必填项,按照实际需求填写;
- 其他信息,非必填项,可按照实际情况填写;
- 提交后,在【机密容器服务】模块下的【机密容器】列表页面可以查看已创建的机密容器;
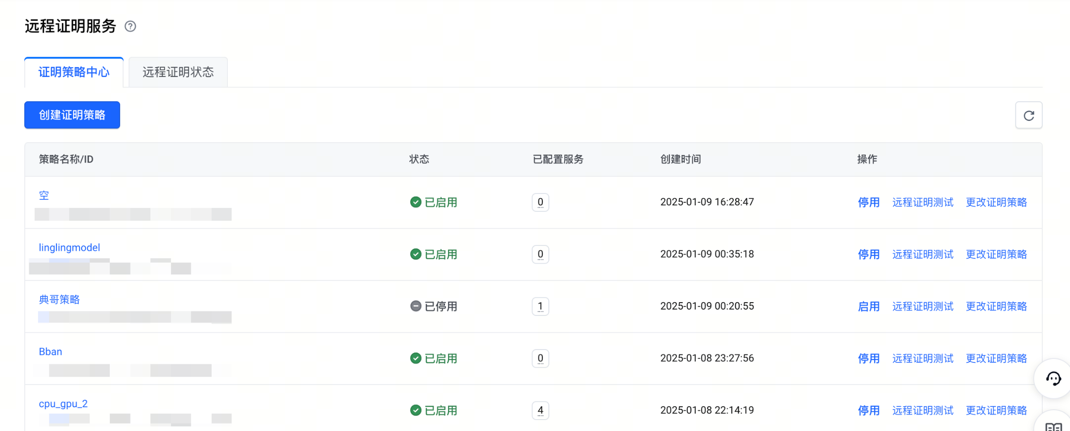
步骤3:配置容器镜像的远程证明策略
创建证明策略
- 进入【远程证明服务】模块,点击「创建证明策略」按钮,字段说明如下:
- 策略名称,自定义,例如:机密容器证明策略;
- 策略描述,自定义;
- 选择对应的加密模型,策略内容自动变化,提交成功后可在策略列表查看创建成功的策略数据;


容器远程证明测试
- 进入【远程证明服务】模块,选择刚刚创建的机密容器证明策略,点击【远程证明测试】按钮
第4步:服务网络配置
详见 终端服务绑定终端节点
端云互信SDK集成联调