You need to enable JavaScript to run this app.
文档中心
企业直播

企业直播

复制全文
下载 pdf
直播质检
直播质检快速入门
复制全文
下载 pdf
直播质检快速入门

直播质检是火山引擎企业直播提供的直播合规质检工具。基于 AI 大模型和合规需求,直播质检提供机器审核和人工审核结合的直播审核服务。在直播过程中,通过预设的质检规则,质检工具可实时分析直播中的画面、语音、文字内容并告警,从而有效降低人工审核成本、提升审核效率,确保直播内容合规以规避业务风险。
本文档将带您跑通质检的核心路径,快速上手直播质检。

关键特性

在电商直播等场景中,直播质检可以帮您实时监控内容合规,避免因主播使用违规词语、展示违禁商品等行为导致平台处罚或用户流失。其主要特性如下:

  • 实时质检:对直播流进行准实时分析,能够在数秒内识别违规内容并发出告警。
  • 自定义质检规则:您可以根据业务需求,灵活创建或组合质检规则,以搭建贴合业务的质检场景。
  • 质检报告留存:提供基于规则的详细质检报告,支持在线查看和下载,方便您后续复核与处理。

核心流程

直播质检的整体流程主要分为以下三个阶段:

  • 直播前:在直播开始前,您需要创建质检任务并配置审核规则。例如,您可以添加脚本对比规则,并录入预先准备的合规直播脚本。
  • 直播中:直播开始后,质检任务会自动运行,并根据您设置的规则实时分析直播内容。例如,脚本对比规则会检测主播话术是否偏离预设脚本。同时,审核人员可以根据实时的机审结果,在监控台对直播间执行警告或断流等人工操作。
  • 直播后:直播结束后,系统会自动生成质检分析报告。审核人员可以查看任务详情,并提交人工审核意见和结论。

Image
在直播过程中,质检平台会采集直播流,基于豆包大模型和行业小模型分析直播图像和语音内容,实时推送风险提醒。整体处理流程如下:
Image

计费规则

直播质检的使用费用由版本费用(年包)和预充值时长资源包两部分组成。版本购买完成后,不会默认开通,请联系我们 协助开通服务的具体能力。

费用类型

名称

付费方式

价格(元)

版本费用

直播质检-智能引擎版(含豆包 LLM 质检引擎)

包年

100 万元/年

预充值时长资源包

100 万分钟时长包

预付费

15 万元/年

预充值时长资源包

200 万分钟时长包

预付费

27 万元/年

预充值时长资源包

500 万分钟时长包

预付费

60 万元/年

请注意:

  • 根据销售政策,购买预充值时长包,需要一并开通「后付费抵扣」,用以抵扣本时长包。
  • 在实际任务中,如超过默认 1 分钟资源消耗,则根据实际资源消耗情况,折算时长扣费。
  • 单个质检任务,默认可添加 1 个豆包分析模型。如额外添加智能分析模型,每添加 1 个,消耗时长翻倍。

基础概念

使用直播质检平台之前,您需要了解以下概念。

概念

描述

规则

规则是质检的核心,是定义违规行为的标准和依据。直播质检平台预置了一系列针对汽车、金融等行业的通用质检规则,您无需自行创建规则,即可快速上手体验。
Image

场景

场景是规则的集合。在实际质检时,单条规则可能无法满足您一次质检的需求。您可灵活组合多个质检规则,以搭建贴合业务的质检场景。
Image

任务

质检任务是直播质检平台的核心功能。要对指定直播间内容进行质检,需要先创建质检任务,在任务中指定直播地址和规则。
Image

项目

项目是在直播质检平台进行操作与管理的单元。您可以在项目中为成员授予权限,并创建质检任务、新建规则、创建审核场景等。
Image

注意事项

  • 质检回放视频支持免费保留 180 天。
  • 直播质检默认正式版本并发的审核任务数量为 10 个。

前提条件

在开始使用直播质检服务前,请确保当前登录的账号所属主账号已开通直播质检服务。

操作步骤

本小节将从创建质检项目开始,手把手带您跑通在直播前、中、后,在直播质检平台操作的核心流程。

(可选)步骤一:为子账号授权

子账号首次访问直播质检平台,将提示“暂无使用权限”。若您希望使用子账号访问直播质检平台,该子账号所属主账号需在直播质检平台为子账号授权,即添加子账号为系统管理员或项目成员。具体步骤如下所示。
Image

  1. 主账号登录直播质检平台,在左侧导航栏,点击系统设置 > 用户管理,然后点击添加用户
    Image
  2. 添加用户弹窗,搜索当前主账号下已经创建的目标子账号,然后单击确定。若您要为当前主账号创建新的账号,单击新建用户按钮,在访问控制页面,参考用户管理文档新建用户,然后再添加该新用户。
    Image
  3. 根据实际需求,添加子账号为系统管理员或项目成员。

添加子账号为系统管理员后,该子账号对所有项目的所有配置项,均具有管理权限。添加步骤如下:

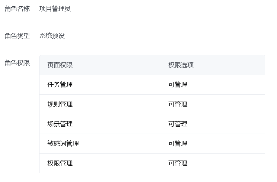
  1. 在左侧导航栏,点击系统设置 > 权限管理,然后点击添加管理员
    Image
  2. 添加管理员弹窗,搜索当前主账号下已经创建的目标子账号,然后单击确定
    Image
    系统将提示“保存成功”。您可登录该子账号使用直播质检平台。

步骤二:新建直播质检项目

为了在直播质检平台中划分操作与管理单元,您需要先创建一个质检项目。

  1. 登录直播质检平台,在我的项目页面,点击新建项目
    Image
  2. 在新建项目弹窗中,输入项目名称,并选择项目类型为直播质检。项目名称不可超过 20 个字符。
    Image
    项目创建完成后,点击项目卡片,进入项目内的配置界面。在项目中,您可参考左侧导航栏,新建任务、规则和场景等。详情参考下文。
    Image

步骤三:新建审核场景

为了将一系列规则打包以便在任务中使用,您需要先创建一个审核场景。

  1. 进入项目后,在左侧导航栏,点击新建场景,进入场景创建页面。
    Image

  2. 参考下表配置项描述,填写场景的名称和规则即可。
    Image

    配置项

    描述

    审核场景名称

    设置自定义的审核场景名称。名称不可超过 20 个字符。

    自定义描述

    对该场景自定义的备注信息,用于描述该审核场景的用途或特点。备注信息不可超过 200 个字符。

    规则列表

    点击 +添加,弹出选择规则弹窗,勾选想要添加的预置规则。
    Image

    任务标签

    任务标签用于对任务添加标签,方便后续的任务筛选和管理。任务标签创建入口如下所示。
    Image

  3. 完成必填配置后,点击保存。您将进入场景管理页面。在该页面,您可查看或继续编辑该场景。
    Image

步骤四:创建质检任务

为了对指定直播间内容进行质检,您需要创建一个质检任务。

  1. 在左侧导航栏,点击任务管理 > 新建任务。进入创建任务界面。
    Image

  2. 参考下表,填写必填的配置项即可。

    配置项

    描述

    任务名称

    设置任务的自定义名称,用于识别和管理。名称长度不能超过 200 个字符。

    待审直播

    配置需要审核的直播来源。支持通过流地址直播间ID 进行配置:

    • 流地址:输入直播的拉流地址。直播质检支持对 flv、rtmp、rtsp、hls 等协议类型的直播流进行质检。
    • 直播间ID:输入企业直播控制台中直播间的 ID。您可登录企业直播控制台获取 ID。具体位置如下图所示。

    注意

    若选择直播间 ID,请确保当前质检平台登录的主账号或子账号所属主账号与企业直播控制台中该直播间所属的主账号一致。

    Image

    审核场景

    选择在步骤二创建的场景。选择该场景表示将使用该场景中添加的规则来对直播内容进行检测。

    启动时间

    设置任务的开始执行时间。不设置默认为在任务保存后立即启动任务。

    规则变量

    用于配置审核场景中定义的规则变量。

    任务标签

    任务标签用于对任务添加标签,方便后续的任务筛选和管理。任务标签创建入口如下所示。
    Image

    完成以上必填配置后,点击保存。您将进入任务列表页面。您可查看该任务的状态等信息。
    Image

步骤五:直播中实时处置

在直播过程中,审核人可进入直播监控台,结合实时机审的结果,对直播间做出告警或断流操作。详情参考以下步骤。

注意

要在监控台对直播间进行告警和断流操作,您需先联系技术支持开通该配置。

  1. 在任务列表页面,点击监控台,进入实时的审核质检页面。
    Image
  2. 在审核质检页面,您可查看当前质检的基本信息,并在右侧结合机审详情,点击警告断流按钮,对当前直播做出人工处置:
    • 警告:对直播间发送警告消息。联系技术支持开通配置后,通过企业直播的直播伴侣客户端或手机 VolcLive App 开播的直播间可收到警告消息。对于其他三方平台,您可联系技术支持,提供警告消息的回调地址,通过消息回调实现该能力。
    • 断流:对直播间进行断流。联系技术支持开通配置后,基于火山引擎企业直播服务开播的直播间将可被切断直播。断流后,直播间在 2 分钟内不可再次开播。
      Image

步骤六:查看质检报告

机审结束后,您可以查看质检分析详情,或下载 .xlsx 格式的规则检测报告。具体步骤参考下文。

  1. 在任务列表页面,点击查看详情,进入任务详情页面。
    Image
  2. 在任务详情页面,您可以查看当前任务的基本信息、规则分析图表、质检视频、审核结论、规则结果等。
  3. 各规则详细结果处,您可以:
    • 单击下载报告,下载 .xlsx 格式的质检报告。
      Image
    • 也可点击规则名称展开机审详情,查看违规原因、相关文字稿和出现时间。系统会以时间线的形式展示所有检测到的违规记录。您可以单击具体时间,查看违规视频片段。
      Image

步骤七:提交人审结论

机审结束后,审核人可在任务详情页面,结合机审结果,对整体直播内容和每个规则提交人工审核结论。

  1. 在任务列表页面,点击查看详情,进入任务详情页面。
    Image
  2. 在任务详情页面的审核结论处,输入审核意见并点击提交按钮,对整体直播内容提交人审结论。人审结论可提交多次。
    Image
    提交结论后,任务的状态将从待人审变为已完成
    Image
  3. (可选)在具体规则处,展开规则,对单一规则提交人审结论。人审结论可提交多次。
    Image

常见问题

创建质检任务时提示“拉流地址非法”,该如何处理?

  1. 检查您填写的直播拉流地址是否正确。
  2. 确认该直播流当前正处于活跃的推流状态。

此外,请确保您的直播流协议是平台支持的格式,如 flvrtmprtsphls 等。

如何对火山引擎企业直播中的直播间进行质检?

  1. 确保您登录直播质检平台所用的账号,与目标直播间所属的账号是同一个。
  2. 步骤四:创建质检任务时,将 待审直播 的来源设置为 直播间 ID,并填入从企业直播控制台获取的 ID。
    Image

直播质检平台可以监听企业直播的开播状态,并自动创建质检任务吗?

可以。如需实现此功能,请联系技术支持开通服务,并提供以下信息:

如何向企业直播的 VolcLive App 和直播伴侣发送警告或执行断流?

您需要先联系技术支持开通此功能。开通后,不同处置方式的适用范围如下:

  • 发送警告
    • 使用企业直播的直播伴侣客户端VolcLive App 开播的直播间,可直接接收警告消息。
    • 对于其他第三方平台,您需要向技术支持提供一个回调地址,以便通过消息回调的方式接收警告。
  • 执行断流
    • 基于火山引擎企业直播服务开播的直播间,可被直接切断直播流。
最近更新时间:2026.04.14 11:41:40
这个页面对您有帮助吗?
有用
有用
无用
无用